BTC/HKD+0.23%
ETH/HKD+0.35%
LTC/HKD-0.17%
ADA/HKD-0.86%
SOL/HKD+0.13%
XRP/HKD-0.28%編者按:本文來自黑氏理論,作者:黑鳳李,Odaily星球日報經授權轉載。10月5日晚21:00,DEGONFT首次拍賣開啟,此次的拍品是名為「SotoshiNakamoto」的NFT,由10,000DEGO鑄造而成,根據DEGO代幣當時的幣價計算,該NFT面值約合35ETH。最初起拍價為1ETH,短短90分鐘內飆升至117ETH,最終價格落在129ETH,達到其面值近4倍,折合人民幣約30.3萬。

首次拍賣的天價開場,不僅得益于DEGO花樣的玩法,也源于近期DEGO項目的火熱,我們在以太坊鏈上數據和社交媒體的熱度中就可以看到,DEGO已經被推向了DeFi和NFT這兩個市場的風口浪尖。根據以太坊鏈上數據,DEGONFT在Gas消耗量上最高排名第2位,目前排名第3位,僅次于Uniswap和USDT。

以太坊Gas消耗量排名再看一下整個NFT市場的轉賬數據,DEGONFT占據榜首,24小時轉賬量為4,286,超過第2名的兩倍,7日轉賬量47,793,超過了第2-20名的總和。

衍生品DEX項目RabbitX將向早期交易用戶發放空投,快照將于6月30日結束:6月2日消息,去中心化永續合約交易平臺?RabbitX 宣布將向早期交易者提供第二輪空投獎勵,快照將于 6 月 30 日結束。據悉,RabbitX 是 Starknet 去中心化永續合約和衍生品交易所,允許用戶在多個不同市場交易永續合約,即時確認且零手續費。[2023/6/2 11:53:50]
以太坊Gas消耗量排名DEGO項目的日活用戶量也隨著NFT版塊的火熱而飆升,日活最高排名到第2位,僅次于Uniswap。

以太坊Dapp日活用戶量排名DEGO在海外社區的熱度很高,在Youtube中,涉及DEGO的視頻已經超過130個。

Youtube中Dego.finance的搜索結果DEGO整個項目的火熱掀起了NFT市場的一場風暴,129ETH的拍賣價格看似不可思議,但也在情理之中。一、天價NFT拍賣案例
超過100ETH的天價在NFT拍賣中已有先例,下文的兩個案例,分別出現在NFT域名和NFT加密藝術品領域。NFT域名:Amazon.eth2019年10月,以太坊域名商ENS在OpenSea交易平臺發布了3-6位字符域名的一次性拍賣,其中Amazon.eth這個NFT域名最終被炒到了100ETH,與起拍價相比暴漲了100倍。按照當時ETH的價格,該域名價值超過12萬人民幣,對標傳統的域名交易市場,12萬在國內已經可以買下一個不錯的雙拼或四聲母.com域名,Amazon.eth的拍賣無疑印證了NFT在域名領域的威力。
去中心化拍賣平臺 Bounce 將引入 ERC1155,提供 NFT 固定價格拍賣功能:3月15日消息,去中心化拍賣平臺 Bounce 宣布將引入 ERC1155,提供 NFT 的固定價格拍賣功能,此新功能將在 Bounce V3 的 NFT 拍賣池部分提供。ERC1155 NFT 可以在單個智能合約中代表多個代幣,使其在 Gas 費方面更加靈活且更具成本效益。借助 Bounce 的固定價格拍賣功能,買賣雙方可以就拍賣的 NFT 的固定價格達成一致。在拍賣過程中,參與者可以隨時出價或撤標。目前,該功能的開發工作已進行最終測試并正在解決錯誤。[2023/3/15 13:05:19]

NFT加密藝術品:FirstSupper2020年3月,加密藝術品交易平臺AsyncArt聯合13名加密藝術家共同推出了一幅NFT畫作《FirstSupper》。該畫作的特色在于可編程,將畫作拆分成了Master和Layer兩個概念,Master是畫作的主體展現形式,由多層Layers構成,Master和Layers相互獨立。在《FirstSupper》存在22個Layer,每一個Layer都是一個獨立的NFT,Layer擁有者可以改變Layer的顯示方式,使Master擁有313億種不同的展現形式。《FirstSupper》的最終競拍價為103.4ETH,該事跡在NFT市場尤其是加密藝術品圈內廣為流傳,被譽為可編程加密藝術的里程碑作品。
波士頓聯儲和麻省理工學院關閉了CBDC“漢密爾頓項目”:金色財經報道,波士頓聯邦儲備銀行發布聲明,宣布對潛在數字美元技術可行性的研究已經結束。波士頓聯儲和麻省理工學院將在未來幾個月發布有關漢密爾頓項目的更多調查結果,認為該計劃為未來建立 CBDC 時可能會出現的政策和技術決策提供了強有力的框架。[2022/12/23 22:04:06]

二、NFT市場的主流拍賣方式
NFT的拍賣目前還處于早期階段,拍賣場地多在OpenSea、AsyncArt等交易平臺內,拍賣方式也與傳統拍賣并無二致,主要有一口價出售、英式拍賣、荷蘭式拍賣三種。一口價出售:直接定價銷售,例如賣家直接將某件NFT定價為1ETH,買家付款購買。這種方式理論上來說并不屬于拍賣的范疇,而是相當于一對一的商品銷售。英式拍賣:漲價式拍賣,最常見的拍賣方式,設置起拍價和拍賣時間,通過用戶競價,最終價高者得。荷蘭式拍賣:減價式拍賣,設定起始價、結束價和拍賣時間,起始價高于結束價。隨著時間流逝,價格將從起始價逐漸降至結束價,直至有買家購買。

這幾種主流的NFT拍賣方式,優點在于沿襲了傳統,用戶的使用門檻低,尤其對于傳統拍賣市場中的存量用戶來說更加友好,能夠輕松理解規則,并加入到NFT的拍賣中來。不過,這既是優點也是缺點,傳統的玩法限制了NFT走向更廣闊的市場。現有的玩法對于普通玩家來說沒有太大吸引力,畢竟絕大部分人都不能準確評估加密藝術品或者其他NFT的價值,這些拍賣面向的只能是有一定藝術審美水準且對NFT有著濃厚興趣的極小眾群體。擴大NFT拍賣的受眾范圍,應該采取其他的途徑為其賦能。DeFi+NFT就是目前最熱門的方案之一,將DeFi的玩法和NFT的屬性作價值綁定,融合DeFi的金融普惠思維,可以讓NFT拍賣更具趣味性,同時又讓所有玩家都有利可圖,這正是DEGONFT拍賣正在做的事情。三、GEGO拍賣解讀
伊朗開始根據新的監管框架向加密礦工發放許可證:9月5日消息,伊朗政府已開始根據上周批準的新“全面和詳細”監管框架向加密礦工發放許可證。當局此前曾向一些加密挖礦業務頒發許可證,但由于電力消耗和非法挖礦問題而停止了這一過程。伊朗工業、礦業和貿易部長Reza Fatemi Amin表示,根據規定,礦企/實體開始在伊朗挖采加密貨幣之前需要兩個許可證:建立許可證和運營許可證。建立許可證將實體建立為合法的加密礦工,而運營許可證允許其實際開始加密挖礦。
據悉,伊朗根據之前的監管框架頒發了1,?000多個加密采礦許可證。伊朗當局在5月份透露,已經關閉了近6914個非法加密礦場。(Bitcoin.com)[2022/9/5 13:09:53]
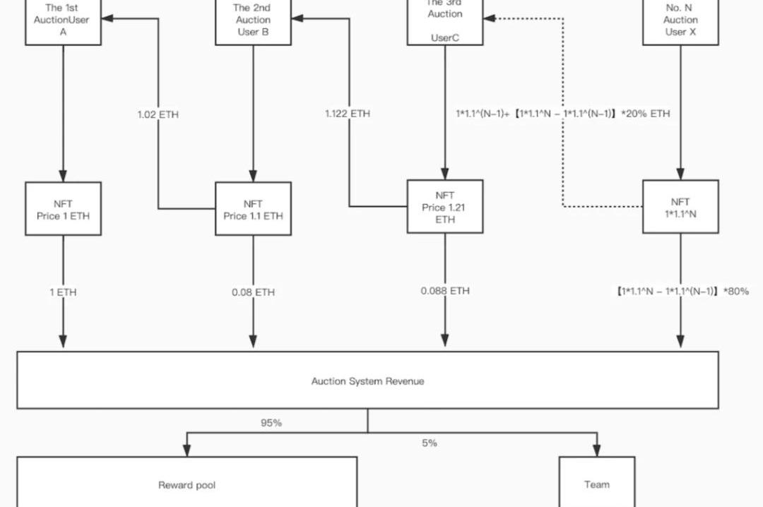
GEGO是DEGO系統內NFT的統稱。每一枚GEGO均為DEGO代幣鑄造而成,鑄造時所花費的DEGO數量即GEGO的面值。GEGO同樣支持反向銷毀操作,銷毀即可返還面值對應數量的DEGO代幣。當然,GEGO也并非僅僅是DEGO代幣的集合體,它還具備一些附加價值。GEGO有6種品質,且每一枚DEGO都有不同的屬性加成,依靠這些屬性,GEGO可以用來質押挖礦或者獲取分紅。GEGO拍賣中的拍品由系統鑄造,鑄造所需的DEGO來自于2%的轉賬費用,轉賬費用的一半直接銷毀通縮,剩余一半中,40%用于鑄造GEGO拍品。GEGO拍賣規則GEGO拍賣類似于英式拍賣,即漲價式拍賣,價高者得,并在規則上加入了FOMO3D的元素。具體規則如下:GEGO拍賣使用ETH參拍,起拍價為1ETH;每次競拍成功后價格自動上浮10%,新的競拍者競拍成功,將返還上一競拍者的ETH本金,10%的價差中,20%由上一競拍者所有,80%為拍賣系統收入;GEGO拍賣的初始倒計時為24小時,每次競拍成功倒計時增加10分鐘,倒計時最大值為24小時。當倒計時小于1小時后,倒計時最大值變更為1小時;倒計時結束后,最后一位競價成功的玩家將獲得GEGO;拍賣系統收入中,5%將作為GEGO基金,95%將注入分紅池。
數據:未償還DAI總量跌破70億枚,抵押品總價值逾200億美元:金色財經報道,據 Dune Analytics 數據顯示,未償還DAI總量已跌破70億枚,單日減少超6000萬枚,本文撰寫時為6,939,998,160枚,此前Maker抵押品總價值為21,761,248,288美元。[2022/8/12 12:20:42]

GEGO拍賣的亮點1.利用FOMO情緒,推高拍賣價格。GEGO拍賣本身有賺錢效應,所有參與者都想在其中分一杯羹,價格較低時玩家們的競拍比較理性,但當價格飆升之后,玩家們往往是受到FOMO情緒的感染,聯合推升價格。玩家們的FOMO是對一個項目最大的肯定,如果本次GEGO拍賣的最終競拍價落于其面值附近,那這場拍賣的效果,甚至GEGO的整套模式都將是失敗的,而最終近4倍于面值的拍賣結果,則側面印證了這套玩法的成功。2.競拍即賺錢,參與者集體獲利GEGO拍賣與英式拍賣的最大區別就在于沒有中心化的賣方。參拍的GEGO由系統鑄造,整個拍賣過程中產生的收入都不需要支付給某一位賣家,這就使資金高度靈活,也就讓所有參與者都有了獲利的可能性。根據GEGO拍賣的規則,拍賣過程中除了最后一位競拍者外,其他參與競拍的玩家都能獲得本金2%的ETH收益,只要下一位接盤俠上場就能瞬間賺錢,這對于逐利的幣圈玩家們而言是極大的誘惑。隨著DEGO的進化,未來可能這些「卡牌」可能拓展出更多的價值,沒拍到的玩家獲利,拍到的玩家也開心。3.GEGO本身具備豐富的價值屬性根據GEGO的應用場景,我們可以將GEGO的價值屬性劃分為三個層面。文化價值:本次拍賣的「SotoshiNakamoto」本體是一幅畫作,屬于加密藝術品領域,自身帶有文化藝術價值,「第一個用于拍賣的GEGO」、「中本聰」這兩個Title就足以讓業內人士興奮不已。夸張一點說,這幅畫作在GEGO體系甚至整個加密藝術品市場的地位,就相當于中本聰在區塊鏈世界的地位。現在的藝術品、收藏品,無論是現實世界的還是加密世界的,突出的往往就是這一層文化價值,或者說是「信仰的力量」,8分錢的郵票可以賣100塊甚至更高,一幅簡單的畫作能賣1ETH甚至100ETH。當然,僅靠這一點是遠遠不能支撐GEGO賣出129ETH的價格的,如果沒有下文的其他價值屬性,那這129ETH就是泡沫,GEGO拍賣也就成了NFT資金盤了。代幣價值:「SotoshiNakamoto」由10,000DEGO鑄造而成,如果銷毀則會返還對應數量的DEGO。這也就意味著其本身有著35個ETH的含金量,如果未來DEGO幣價上漲,那它的含金量也會隨之上漲。附加價值:DEGO系統在近期開啟了GEGO挖礦,即質押GEGO產出DEGO,「SotoshiNakamoto」作為最高品質的GEGO,放入礦池也可以獲得源源不斷的挖礦獎勵。除此之外,我猜測未來GEGO還會出現更多應用場景,屆時會進一步提升其附加價值。4.GEGO拍賣為分紅池提供了資金來源在GEGO的拍賣規則中,10%的價差收入中,80%作為拍賣系統收入,拍賣系統收入的95%注入分紅池,用于給DEGO或GEGO的持有者進行分紅。通過查詢分紅池地址的數據,僅本次拍賣就為分紅池貢獻了超過103.5ETH的收入。

DEGO分紅池數據GEGO拍賣將持續進行,這會不斷擴大分紅池的資金規模。根據官方Twitter發布的消息,北京時間10月7日晚21:00將開始第二次拍賣,本次的拍品為名為「VitalikButerin」的NFT,面值9,999DEGO。

5.拍賣是整個GEGO價值體系中的重要一環我們簡單捋一下GEGO體系的整體邏輯,GEGO拍賣中拍品的鑄造來自于玩家們貢獻的轉賬費用,拍賣過程中的收入一部分直接分給競拍者,一部分給玩家分紅,最終競價成功的玩家則可以收獲GEGO三合一的價值屬性。由此可見,從GEGO的鑄造到拍賣到使用,整套體系打造了一個價值的閉環,任何一個參與者都是貢獻者,也都是受益者,這既是去中心化金融,更是普惠金融。四、總結
如果說前不久的GEGO空投是讓無數場外用戶親身體驗了NFT的魅力,那這次的GEGO拍賣則是為整個NFT市場獻上了一次教科書式的拍賣表演,讓傳統的NFT交易平臺看到了更具創新的拍賣玩法,也讓用戶更加深入了解了GEGO的價值所在。DEGO的團隊在不斷為我們帶來新的驚喜,我們也有理由期待他們下次的花式演出。
編者按:本文來自巴比特資訊,作者:MathewDiSalvo,編譯:Wendy,星球日報經授權發布。概述去中心化市場OpenBazaar周五表示,其已經沒有足夠的資金繼續運營下去.
1900/1/1 0:00:00隨著MicroStrategy、Square接連宣布斥巨資買入比特幣,傳統大型公司在加密貨幣市場上的動作愈發引人關注.
1900/1/1 0:00:00文|黃雪姣編輯|郝方舟出品|Odaily星球日報 DeFi這波獨立行情的爆發,帶火了DEX、預言機等細分賽道.
1900/1/1 0:00:00我在前面一篇文章中認為,目前的DeFi治理代幣本質上都是證券。但是這些代幣的運作又都沒有按照美國的證券法來運作,因此這些項目在合規方面有非常大的風險,很有可能被SEC采取監管措施.
1900/1/1 0:00:00本文來自:哈希派,作者:哈希派分析團隊,星球日報經授權轉發。金色財經合約行情分析 | BTC持倉量重回高位,波動風險增大:據火幣BTC永續合約行情顯示,截至今日18:00(GMT+8),BTC價.
1900/1/1 0:00:00編者按:本文來自加密谷Live,作者:TrentonVanEpps,翻譯:李翰博,Odaily星球日報經授權轉載。Ethereum無許可的性質是有代價的--但它是必要且有益的.
1900/1/1 0:00:00